| |
| Home
> Products info > COOLANT FILTERING SYSTEM > Central
Coolant System |
 |
| |
 |
| |
|
| |
| |
| |
 |
 |
Various
processing such as STEEL, CASTING, ALUMINIUM, etc..
filtering
of water-soluble coolant. Filtering of water-soluble
coolant for DRILLING, TAPPING, REAMMING, GRINDING,
GUN DRILLING, MILLING, BROACH, etc.
Pressing
of STEEL, STAINLESS STEEL, COOPER, ALUMINIUM, WIRE
DRAWING, etc.
Collection
water dehydrated from powders such as lime and diatomite.
Filtering
of washing water or coolant
Casting
washing (sand removal), ALKALI washing, zinc phosphate
chemical coating removal.
Sewage
disposal, factory waste water filtering, dehydration,
etc. |
| |
 |
| DC FILTER consists
of Filtering tank of UPPER SHELL and CONV' BELT
(MESH MEDIA) that are symmetrical up and down. UPPER
SHELL is operated up and down by AIR CYLINDER (HYDRAULIC
CYLINDER) and LOWER SHELL is fixed to main body.
CONV' BELT (MESH MEDIA) is located between two shells
and seal is attached here for protecting the outflow
of liquid in filtering process. If internal pressure
increases as DIRTY COOLANT is input, dehydration
process begins. After completing dehydration process,
UPPER SHELL rises and transferred CONV' BELT discharges
sludge and floating matters to the exterior. At
this time, CONV' BELT is maintained cleanly through
WASHING process. The whole processes are performed
automatically. Filter stops just for 1~2 minutes
so the supply of clean coolant is not stopped. |
| |
 |
Through
air blow dehydration, sludge is discharged as a
dried state.
Dehydration
ratio reaches 95% so it can be used as a dehydrator.
It
is easy to operate because all operations are performed
automatically.
Because
of pressurization filtering, flow rate per filtering
area increases, thus, occupation area is small.
1
FILTER can filter 100~11,000งค/MIN so it can control
coolant of many machines.
Running
cost is reduced by repeated use of blow off belt |
| |
 |
It
can be adjusted from 100งค/min ~ 11,000งค/min (If
several filters are used, its capacity is over 11,000งค/min) |
| |
 |
COOLER,
cutting oil sterilization unit and AERATION unit. |
| |
 |
 |
| |
 |
| |
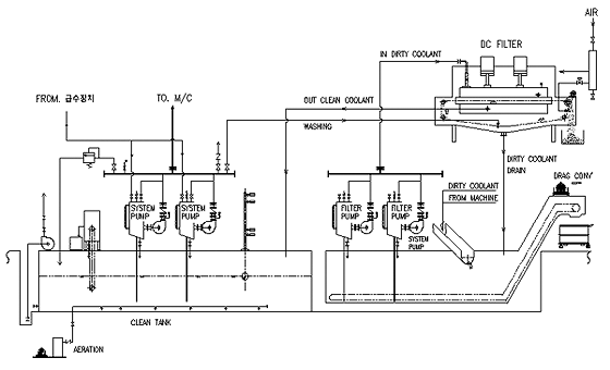
Application
example 1 : DRAG CONV'-applied SYSTEM
DIRTY water discharged from machine flows in DRAG
CONVEYOR via TRENCH. Large-sized chip is removed
in CONV' and just floating sludge is introduced
to filter pump. After it is sent to and filtered
in DC filter, clean water is sent to clean tank.
|
 |
| |
| |
| |
Application
example 2 : Roller coolant system
Because of its outstanding performance, 1 DC filter
can handle coolant filtering for roller using a
lot of water. |
 |
| |
| |
| |
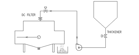
Application
example 3 : Lime dehydration system
In washing process, the washing water containing
lime, which is concentrated by thickener is sent
to the filter, it discharges cake. |
 |
| |
|
|
| |
|
|